Долговечность и бесперебойная работа любого механизма с движущимися частями — от подшипников электродвигателя до узлов промышленного станка — критически зависит от качества смазочного материала. Он создает защитную пленку между трущимися поверхностями, снижает их истирание, спасает от коррозии, перегрева и загрязнений. Ключевое свойство смазки — износостойкость — способность предотвращать износ деталей. Однако со временем при эксплуатации она деградирует и ее защитные качества ослабевают. Существующие установки для проверки работоспособности требуют расхода большого количества свежего материала и не позволяют провести его контроль «на месте» в условиях цеха. Ученые Пермского Политеха разработали уникальную портативную конструкцию, которая всего по паре капель может оценить остаточный ресурс отработавшей смазки прямо на производстве, что раньше не было возможно. Это открывает новые перспективы для обслуживания оборудования в полевых условиях, где нет доступа к сложным и громоздким лабораторным приборам.
Статья опубликована в журнале «Вестник ПНИПУ. Химическая технология и биотехнология» №3, 2025. Исследование выполнено в рамках программы стратегического академического лидерства «Приоритет-2030».
В любом производственном оборудовании есть движущиеся компоненты (механические узлы), например, направляющие элементы токарных станков, шарниры и подвески роботов-манипуляторов, редукторы, подшипники валов или насосов и многие другие. Прямое взаимодействие металлических деталей может привести к поломке, образованию царапин и сколов. Чтобы этого не допустить, узлы трения смазывают специальным промышленным материалом — пластичной смазкой. Кроме того, что она предотвращает прямой контакт деталей, она также отводит лишнее тепло и создает барьер от влаги, тем самым защищая от перегрева и коррозии.
Этому материалу предъявляют серьезные требования. Его качество определяют по плотности, вязкости, прочности, стабильности, содержания механических примесей, воды и растворителей, в том числе и от износостойкости — чем она выше, тем ниже вероятность возникновения дефектов на деталях. Перед промышленным применением все смазки подвергают испытаниям в лабораторных условиях на специальном оборудовании, которые имитируют работу механизмов. Такой контроль помогает изучить свойства продукта и узнать, при какой нагрузке он остается стойким, а при какой теряет свою эффективность.
Однако существующие для этого решения обладают рядом недостатков: применяемые устройства дорогостоящие, сложные в эксплуатации и предназначены для проверки лишь «чистого» — свежего смазочного материала в лаборатории. Кроме того, только на один опыт затрачивается не менее 10 мл продукта, что при многочисленном анализе в промышленных масштабах приводит к сильным расходам. А главная проблема — это невозможность оценить с их помощью смазки, которые уже используются на производстве, хотя это также необходимо, так как их защитные свойства со временем ослабевают и требуют контроля.
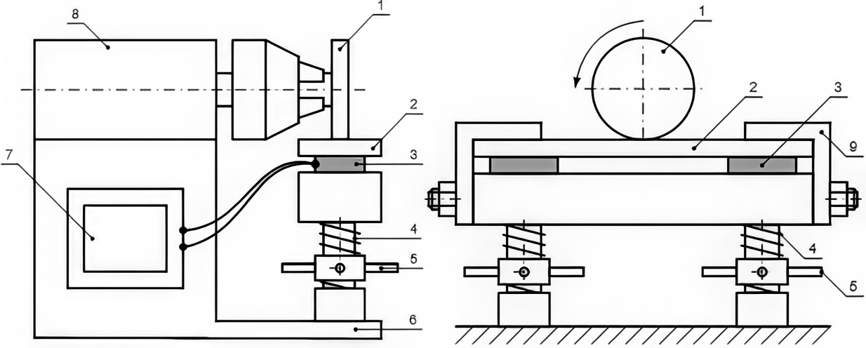
Ученые Пермского Политеха разработали прототип инновационной портативной установки для проверки износостойкости смазочного материала прямо в условиях цеха. Ключевое преимущество метода — возможность протестировать смазку, взятую в очень малом количестве (до 0,2 мл) непосредственно из узла трения работающей машины, и определить, исчерпала ли она свой ресурс или еще может использоваться.
— Предлагаемая конструкция отличается простотой и компактностью. Она имитирует работу пары металлических деталей (узла): вращающийся цилиндрический образец прижимается к неподвижной пластине. Между ними помещается крошечная порция тестируемой смазки (0,15-0,2 мл). Прикладываемая нагрузка регулируется с помощью винтового механизма и измеряется тензодатчиком, — рассказывает Макар Ромашкин, доцент кафедры оборудования и автоматизации химических производств ПНИПУ, кандидат технических наук.
— Эксперимент продолжается до тех пор, пока на образце не появится характерное серое окисленное кольцо (признак начала деградации смазки), либо не произойдет «схватывание» — прямой контакт металлических образцов из-за полного разрушения смазочной пленки. При этом фиксируется время, которое материал выдерживает под конкретной нагрузкой до наступления критического момента, — поясняет Борис Стародубцев, доцент кафедры оборудования и автоматизации химических производств ПНИПУ, кандидат технических наук.
С помощью разработанной лабораторной установки ученые провели 150 экспериментов со смазкой «Литол-24», которая активно используется в промышленности для различных механизмов и узлов, работающих в условиях высоких нагрузок и температур (подшипников качения, шарниров и других). Ее проверяли в двух состояниях: свежей и уже отработавшей определенное время в реальных условиях.
После испытаний прототипа машины трения на лабораторной установке строится график зависимостей в виде кривой, по которой можно отследить качество материала. Для свежей смазки она имеет определенную форму, а по мере старения продукта ее характеристики ухудшаются: время до схватывания сокращается, а форма кривой меняется. Так, проверив смазку из работающего оборудования и сравнив полученный график с эталоном, работники цеха или предприятия на месте смогут сделать точный вывод о степени ее износа и остаточных возможностях.
По сравнению с аналогами новая установка для контроля износостойкости ученых Пермского Политеха менее трудоемкая и дорогая, а также требует для тестирования на 98% меньше смазочного материала, сохраняя при этом точность анализа. Метод может стать незаменимым промышленным инструментом, позволяя предотвращать поломки и оптимизировать графики техобслуживания на основе объективных данных о состоянии смазки.



